当前位置:首页 > 资讯 > 茶资讯> 正文

申请多个“万茶”商标,万达要进军奶茶行业了!

2022-05-08 20:38:27热度:147°C

     作为影视巨头,万达影城是我们看电影的首选之一,随着时间推进,看电影时的标配已经由可乐雪碧变成了奶茶、果茶等新茶饮,因此,万达也要正式进军茶行业了。

01

万达申请“万茶”进军奶茶行业

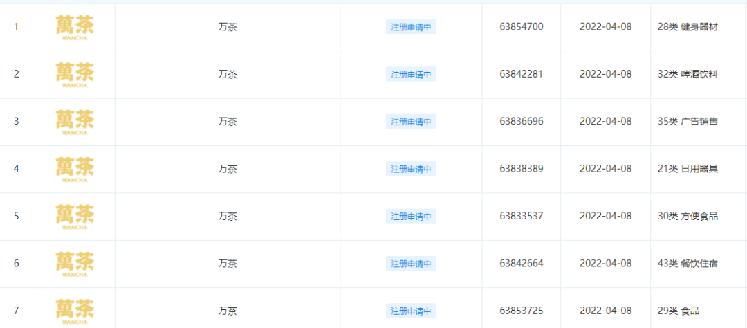
     近日,大连万达集团股份有限公司申请注册多个“万茶”商标,国际分类包括啤酒饮料、方便食品、厨房洁具等,目前商标状态均为等待实质审查。

图源|企查查

     此前,万达电影称,万达影院目前在部分门店推出自有茶饮品牌“萬茶”,门店形式包括独立店和COSTA咖啡融合店两种形式。

     事实上,影院利润来源除了电影票收入外,餐饮消费也一直是重要来源,2021年半年报数据显示,万达电影2021年上半年观影收入40.4亿,占收入比例57.44%,毛利率为13.38%,实现利润5.41亿元;商品、餐饮销售收入7.78亿,占收入比例仅11.06%,毛利率为65.99%,实现利润达5.13亿元。

02

寻找新的盈利点

     国内茶饮市场正迎来新一轮高速增长周期,艾媒咨询数据显示,2021年中国新式茶饮市场规模达2795.9亿元,有机构预计2025年将达到3400亿元。

      跨界的不仅仅是万达,众多头部企业也纷纷跨界,海底捞、娃哈哈都开了吸引奶茶店,2021年6月,中国邮政集团旗下药品零售业务中邮大药房在其福建省福州市的一家门店招牌下开了一间奶茶店——邮氧的茶。

     万达电影之所以切入奶茶市场,无疑是看到茶饮行业广阔的市场前景,可以利用自身的线下流量优势提高非票房收入。

图源|爱设计

     除尝试进入奶茶市场外,万达电影今年2月在接受机构调研时介绍,今年公司会从内容创作、发行、渠道全产业链开展,万达影视将IP授权剧本杀合作,影院通过自营、联营等模式运营。公司也会继续推动多功能影厅的拓展,未来公司希望能把万达影院升级为小型综合娱乐体,创新增收。

     期待万达影院将娱乐、餐饮、购物等各种生态联合一体,满足人们更高层次的娱乐要求。

03

为什么万达要提前注册商标?

    企业进入新的行业,为什么都要从商标布局开始?

    这就不得不提商标的重要性了,我国商标根据行业分类不同共分为45类,不同行业需要保护不同商标分类,如果新品牌在相应类别进行注册保护,不仅可能影响新业务的开展,面临品牌“裸奔”的尴尬境地,还有可能面临侵权危机,更费时费力。

     另一方面,商标是一个企业非常重要的品牌资产,我国已进入品牌消费时代,大家买东西,都是奔着品牌去的,这是品牌花费巨大的时间砸了无数的人力物力才积累的品牌资产,如果品牌被别人抢注了,不管成不成功,都会对该品牌造成一定程度的影响。所以,商标是品牌的有力保护,商标布局是所有企业都应该树立的知识产权意识,商标注册不费劲,沒有商标才操心!

      事实上,万达一直很注重商标保护,据路标网查询,目前小万达集团股份有限公司名下共有4500+件商标,并且很多名称都是多类别注册,防止其他行业“碰瓷”,未雨绸缪提前布局,好过亡羊补牢!

图源|路标网

    总之,在当今时代,随着知识产权意识的不断提升,商标所蕴含的市场潜力是不可估量的,只有握有商标权,才能更好地进行品牌运营,在此也建议所有老板们,不管是初创企业还是发展过程中,都不要忽视了商标的布局工作。

相关文章

SQL Error: select id,classid,MATCH(title) AGAINST('41743975 39752264 22642486 24860116 01164582 45821872 18720117 01174144 41441774 4582' IN BOOLEAN MODE) as jhc from ***_enewssearchall where (id<>361559) and MATCH(title) AGAINST('41743975 39752264 22642486 24860116 01164582 45821872 18720117 01174144 41441774 4582' IN BOOLEAN MODE) order by jhc desc,infotime desc limit 0, 6